Apple-Patent: iOS-Geräte mit Induktion laden
Mobile Geräte laden, im Apple-Style: Ein Patent zeigt, wie sich Apple das Aufladen von iOS-Geräten via Induktion vorstellt. Eine Lösung ist gestaltet wie ein Türmchen, die andere lässt sich mit einem akustischen Lademechanismus nutzen.
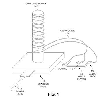
Der “Ladeturm” funktioniert laut Patentanmeldung folgendermaßen: Die Kopfhörerkabel werden um die Röhre gewickelt, ein mit einem speziellen Metzall ausgestatteter Ohrstöpsel wird als Kontakt genutzt, um den Ladeprozess zu starten.
Im Turm befindet sich ein Konverter, der den Strom aus der Steckdose umwandelt, um damit eine Drahtspule anzutreiben, die um einen ferromagnetischen Kern angebracht wird. Die Übertragung ist durchaus auch kabellos möglich.
Außerdem wird eine alternative Lademethode gezeigt, bei der der Kopfhörer in eine spezielle Aussparung eines akustischen Ladegeräts gesteckt wird, um das am Kopfhörerkabelende angeschlossene Gerät aufzuladen.
Das akustische Signal ist in einem nicht hörbaren Frequenzrahmen und sorgt dafür, dass der Lautsprecher im Kopfhörer vibriert. Dies wird dann mittels eines Energiewandlers in die nötige Spannung verwandelt.
[via PatentlyApple]



