Mac OS X 10.7 Lion: Durchscrollbare Menüs und Werkzeugleisten statt Dropdowns?
Apple wird in Mac OS X 10.7 Lion neue Userinterfaces einführen, auch das Dock könnte eine Überarbeitung erfahren: Eine aktuelle europäische Patentanmeldung zeigt ein System von “scrollbaren Menüs und Werkzeugleisten”.
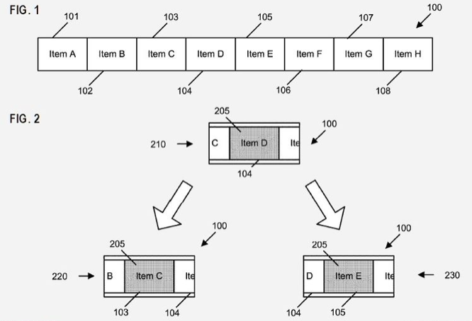
Sowohl für Mac OS als auch für iOS könnte die neue Funktionalität eingesetzt werden, die klassische Dateihierarchien ersetzt: Endlose Dropdowns könnten damit zukünftig der Geschichte angehören. Anstatt dessen soll Mac OS X 10.7 Lion (und später offenbar auch das iOS) auf durchscrollbare Menüs und Werkzeugleisten setzen. Gerade hinsichtlich neuer Multitouch-Funktionalitäten könnte dies sinnvoll werden: Statt mit der Maus einen passenden Menüpunkt in einem Dropdown zu suchen, ließe sich mittels Wischgeste die gewünschte Funktion ansteuern. Steve Jobs hatte bei der Präsentation von Lion bereits vermerkt, dass Apple über Touchscreen-Macs nachgedacht habe, Magic Mouse, Magic Trackpad und Multitouch aktuell aber die bessere Wahl sei.
Die Maus an sich wurde dabei übrigens nicht vergessen: Allein die Zeigerbewegung soll das Durchscrollen innerhalb der Menüs möglich machen.
Der Schritt hin zum iOS mit scrollbaren Menüs liegt dabei fast schon auf der Hand und erscheint sogar logischer als der Schritt zum Mac OS. Die Menüs könnten zumindest auf dem Mac selbst konfigurierbar werden und damit den Gewohnheiten des Nutzers noch näher kommen. Auch die Anordnung der neuen Menüs lässt sich laut Patentbeschreibung anpassen: Neben einer kreisförmigen steht auch eine waagrechte Ansicht bereit, die dann nur wenige Menüpunkte unterstützt.
Spätestens bei der World Wide Developers Conference im kommenden Sommer dürften eine ganze Reihe neuer Systemfeatures vorgestellt werden, beim Special Event im Oktober hat man sich auf einige wenige beschränkt. Der Release soll ebenfalls noch im Spätsommer bzw. Herbst stattfinden.
[via Patently Apple]




